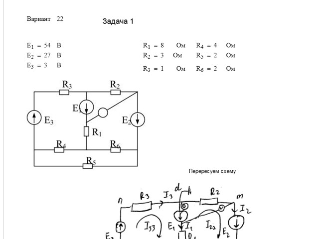
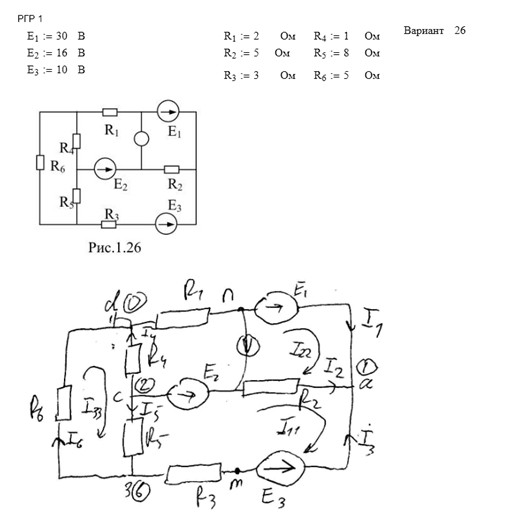
Теоретические основы электротехники СамГТУ Контрольные задания к РГР по теме ''Цепи постоянного и синусоидального тока'' (Голобородько, 2004),Задача 1. Расчет цепи постоянного тока, вариант 11-15,17,18,20,22-30, вариант 11
Вариант:
Описание
Учебная работа Теоретические основы электротехники СамГТУ Контрольные задания к РГР по теме ''Цепи постоянного и синусоидального тока'' (Голобородько, 2004),Задача 1. Расчет цепи постоянного тока, вариант 11-15,17,18,20,22-30:
Вы можете отслеживать и оплачивать заказы в Личном кабинете.
Если остались вопросы, звоните по тел.: 8 800-222-87-01 или пишите нам на почту order@reshim24.com
Для покупки учебной работы:
Оформите заказ через корзину.
Оплатите удобным для вас способом.
Получите весь материал на Ваш e-mail в короткие сроки.
Вы можете отслеживать и оплачивать заказы в Личном кабинете.
Если остались вопросы, звоните по тел.: 8 800-775-19-74 или пишите нам на почту order@reshim24.com
Также заказывают

Высшая математика 2 семестр, Контрольная работа №2, вариант 295
500 ₽

Высшая математика СамГТУ 1-2 курсы Теория вероятностей 11 заданий, вариант 21
300 ₽

Высшая математика СамГТУ 1-2 курсы Математическая статистика Статистика ИЭФ
200 ₽

Высшая математика СамГТУ 1-2 курсы Контрольная работа Числовые ряды, Ряды , ДУ, ТВ -11 заданий с вариантами решения 2014 год, вариант 14 (без заданий 4,9)
240 ₽



































